How Vitamin D is Made: From Slaughterhouse to Bottle, a famous supplement's journey
From start to finish, here is how what we are being told is "Vitamin D" is made...
It starts with a sheep…
This particular sheep is part of the meat industry. Even though he won’t live a long enjoyable life, his wool will live on because it has many uses - so many uses that it is sold worldwide as a textile.
But before the wool can be sold it must be cleaned. In addition to dirt and sticks stuck in the wool, sheep produce an oily substance from their sebaceous glands called lanolin (wax) and this must be removed. To clean the wool it is washed with detergents and spun. The lanolin is then extracted.
Once extracted, lanolin can be used in skincare products. The lanolin skincare industry is becoming quite popular, it was estimated to have made $450 million this past year.
But there’s another industry that is interested in lanolin… the pharmaceutical industry. Big Pharma’s factories need lanolin to produce their “natural” products (burn creams, nipple creams, etc) but those products are small potatoes compared to their worldwide goldmine…
To make Vitamin D they need cholesterol and this they obtain from lanolin (alternatively they can use disgusting “fish oil” which we have discussed previously). This brings us to today’s recipe…
Although there are hundreds of different recipes (patents) to make vitamin D, the overall process is the same regardless of which one you pick. It’s kind of like baking a cake; some cake recipes call for cinnamon or lemon and others do not, yet the general process is uniform. We will be discussing the general process which will not include all of the ingredients in the finished supplement because each recipe is unique and there’s no way of knowing specifically which one a factory uses.
Regardless of which recipe is being used, the first step is to isolate the “7-dehydrocholesterol” (from the lanolin from the sheep’s wool from the meat processor). To do this you will need to perform a “Dehydrobromination reaction” using 2, 4, 6-trimethylpyridine (a toxic compound Big Pharma scientists adore). Being that trimethylpyridine contains the word pyridine, we already know it is derived from coal tar because that is how pyridine is made. Fun Fact: Coal tar products can be both “natural” and even “organic” because coal tar contains carbon - hey, I don’t write the rules, I just share them, don’t be mad at me.
If you don’t want to use the coal tar stuff you can instead use sodium hydroxide, potassium hydroxide, N-Bromosuccinimide and chloroform (←which I believe is the recipe Pharma currently uses being that chloroform is on the manufacturers safety data sheet for vitamin D).
Regardless of which chemicals you pick, to get your reaction you need to heat it to 248 F / 120 C. This will cause the lanolin to melt into the chemicals and create a soup, which sounds more like a gravy, if you ask me. If you need it to dissolve faster, methanol and benzene do the trick.
Once it melts, you have officially isolated 7-dehydrocholesterol! YAY! Next you “purify” the concoction through a “Diels–Alder cycloaddition”. To do this you take a dienophile (not to be confused with a pedophile) and create a chemical reaction. Here are some common Diels-Alder pedophiles dienophiles:
Now you have your isolated and purified 7-dehydrocholesterol. It then needs to be irradiated using a UV irradiation machine which looks like the X-ray machine at the airport because it basically is.
The irradiation step requires “a base”. For this you can select from lithium hydroxide, barium oxide, magnesium aluminate, magnesium metasilicate-aluminate, sodium hydrogen phosphate or others. Whatever the base is, it has to be transparent so the radiation beams can be blasted through it. This process (running the sheep-stuff-chemicals through the radiation machine) is what science claims “activates” “the vitamin” - but the vitamin D supplement is far from ready. If you were making an egg omelet, you are at the stage where the eggs are in a bowl with a little milk and you are lowering the fork to whip them but the prongs of the fork have not made contact with the top of the eggs yet - clearly the omelet is nowhere near ready to plate and serve.
Next, the 7-dehydrocholesterol has to undergo separation. This involves “absorption and elution”. For this you will need an activated absorbent which is usually aluminum oxide and benzene. If you’re not familiar, aluminum oxide is used to make ceramics, electrical insulators, catalysts, spark plugs, light bulbs, glass and heat resistant fibers. It is also used in pharmaceuticals, vaccines and body care. When in topical products it is usually called Alumina on the label. Many of us opt to pay the extra money for aluminum-free products.
Benzene is a hugely toxic substance that, like pyridine, is also derived from coal tar. Benzene is used to make glues, adhesives, cleaning products, and paint strippers. According to Cancer.gov the air can be laced with it.
Benzene is also a popular ingredient used to manufacture pharmaceuticals and supplements. Anyway, that’s what you need to separate the isolated and purified concoction you have made from the lanolin.
Now that you have your isolated, purified and separated 7-dehydrocholesterol the time has come to “heat and filtrate” it. This is what science claims will complete the transformation into cholecalciferol, which is what we call “Vitamin D” - and it’s pronounced ko-lee-cal-sif-er-ole, not ko-lee-sal-something-something. The filtration process is this, but on a way larger scale using industrial machinery:
To filter, you are going to need a funnel, a filter, filter aids (i.e. cellulose) and, of course, the stuff (the sal-something-something stuff). The heating part involves adding chemicals then heating until the chemicals have all evaporated and all you are left with is “crystals”. Then, like playing a video game, you collect your crystals and send them to the drying stage.
Once dry, the crystals will be pulverized into powder and packaged into drums. But don’t worry! All this heating, causing chemical reactions, funneling, turning to crystals, smashing to smithereens; it doesn’t hurt the little vitamins because… well, it just doesn’t. These invisible little miracles must be tough like titanium… titanium that once came from slaughterhouse sheep’s wool wax.
The drums of powder will then be shipped, usually from China and India, to supplement and other manufacturing facilities.
Once at the factories, it will be cut with fillers, preservatives, dyes, whatever, so that only a trace amount of sal-something-something “vitamin D” is left. It is then put into capsules or undergoes the process to shape it into pills. In the case of D-con rat poison, they cut it with flour, fat and sugar to create rat killer - those are the only four ingredients.
In other rat poisons they put it on seeds (because rats know better than to eat this stuff, so we have to trick them by hiding it in food).
Although people assure me “Vitamin D is only poisonous to rats!”, the reason our vitamin must be cut to a trace amount is because, as Merck’s poison control unit points out, “Toxic doses of cholecalciferol are much lower than reported acute lethal doses (13 mg/kg) and median lethal doses (88 mg/kg)”. Merck goes on to say, “clinical signs may be noted in doses as low as 0.1 mg/kg”. Clinical signs mean the body has hit such a level of toxicity that it can no longer fight off the toxins so “disease” begins showing itself. It’s kinda like how your roof has had a leak long before you see the leak - you discovered the leak because it has been leaking so long that it is now coming through the light fixture in your upstairs bedroom and dripping onto your new memory foam bed and your spouse is screaming at you because you saved for years to afford that bed and “it’s not like we can put the damn mattress in the washing machine!” - yeah, 2022 was a rough year for me. Where were we? Oh yes, “Vitamin D”:
If the vitamin D is in oil/drops or injection form it is cut with a fertility-reducing toxic soy oil concoction which they call “vitamin E”, MTC / Medium-Chain Triglycerides/ dl-α-Tocopherol.
But it can also be cut with other “Omega-3’s” which are Canola Oil (repurposed Canadian motor oil), Rapeseed Oil (also toxic) or any cheap oil. This is because the NIH decided, despite these oils giving men breasts and rending children infertile, they are the pinnacle of health.
So, Merck said “clinical signs” can appear in as little as 0.01 mg/kg and being that vitamin D is fat soluble (meaning our bodies have no way of flushing it out), every dose we take remains in our systems for years. This means, if a 150 pound person (68 kg) purchases a 5,000 IU daily serving of the vitamin, within two months the vitamin will have bioaccumulated to “0.1 mg/kg” and clinical signs may begin to appear (which means the water droplets may begin to enter the light fixture above your new memory foam bed). A product with 50,000 IU will bioaccumulate much faster (=mattress might be soaking wet by noon on Monday).
And a lower dose product will take longer to compile (“Obviously the roof isn’t leaking, look at it! It’s as dry as Stephen Colbert’s personality!”). Either way, it has to be cut to make sure people don’t end up hospitalized or drop dead like the rat if they eat too much of the miracle potion too quickly.
But what’s important here is, regardless of how the finished product looks; from injections to drops to pills to rat poisons…
…IT’S THE EXACT SAME AS SUNSHINE…
NEXT READ
FISH Now Contains SOY: POISONING the FOOD SUPPLY
Last month I wrote Government Caught Poisoning Fish, which was about the literal poisoning of lake, river and ocean fish. I followed that up with a piece called Stealing the Food Supply, Right in front of our Eyes, and as if that wasn’t bad enough, I then wrote about the
Here is a compilation of my work as well as other authors. Mine are in bold.
101 Reasons to Quit Taking Supplements - a compilation of a year’s worth of research
Dr. Lee Merritt is LYING About Me - Vitamin D Really IS Rat Poison, Let’s Go Through it Again
Medicine Girl
Ray Horvath, "The Source" :) found a phenomenal blog post exposing the Scurvy Scam
Poisoning the Food Supply: The History of Fortification Series Part 1
The United Nations Food Fortification Program Series Part 2
The Vitamin Swindle: White Bread Scandal (The Truth about Vitamin B and Beriberi) PART 1
Lab Value Larceny - outstanding piece by Medicine Girl
Soil Has Been Depleted of Nutrients! Creating MYTHS to Sell Supplements
What’s in B-Vitamins? Methylcobalamin, Biotin, Folic Acid, Riboflavin INGREDIENTS
Hydroxychloroquine: POISON & Self Assembling Nanoparticles - The HCQ PSYOP & the Blood-Brain Barrier
The Great Deception: Functional Medicine's Allopathic Facade Exposed
Ensure Meal Replacement Shakes: Vitaminized Hell by
Ray Horvath, "The Source" :)
WE are the Electric Grid: Turning People into Charging Stations
How Can You Ascertain How Bad Synthetic Chemicals Are for You? - Another look at MSDS
Allergies, Ulcers, and Autoimmune Conditions Seem To Meet on Common Grounds
SOURCES, NOTES & OTHER STUFF
Heating the Filtrate: The alcoholic filtrate is heated to convert any remaining precholecalciferol into cholecalciferol. After this, the amounts of cholecalciferol and 7-dehydrocholesterol in the filtrate are determined. If necessary, the quantity of 7-dehydrocholesterol is replenished to achieve a 1:1 ratio with cholecalciferol.
Complex Formation and Adsorption: The complex compound formed is subjected to decomposition on active adsorbents, such as aluminum oxide. This process helps in the purification and separation of the individual components.
Column Chromatography: A benzene solution of the complex compound is passed through a column packed with aluminum oxide. Different fractions of the eluate are collected, which contain pure cholecalciferol, a mixture of cholecalciferol and 7-dehydrocholesterol, and pure 7-dehydrocholesterol.
Crystallization: The pure cholecalciferol obtained from the eluate is evaporated under reduced pressure, dried, and then crystallized from acetone with the addition of water. This results in the formation of crystalline cholecalciferol, which is then dried and packaged for use.
Learn more: https://www.petpoisonhelpline.com/poison/cholecalciferol/
1940s https://www.nature.com/articles/158169a0
N-bromosuccinimide
Patent Jamie found https://patents.google.com/patent/CN109761867B/en
DMSO recipe https://www.sciencedirect.com/book/9780123819789/vitamin-d#book-info
Crystal https://patents.google.com/patent/US2436195A/en “To convert the above into the free 3-0H compound, the l-dehydro-cholesteryl benzoate was saponified by dissolving in parts of benzene, adding a solution of 1.3 parts potassium hydroxide in parts of methanol, and refluxing the mixture for 1 hour. 2.5 parts of water were then added, and heating was continued until '7 to 8 parts of mixed solvent were distilled oil. The residual mass was cooled to 10 C., filtered under suction, and the crystalline residue was washed with methyl alcohol. The product had a melting range oi -135 0., end an angle of rotation m=84', which properties agree well with those of crude 'l-dehydro-cholesterol, as obtained in a typical deacylation o! 'l-hydroxycholesteryl dibenzoate.”
https://www.sciencedirect.com/topics/neuroscience/7-dehydrocholesterol
“Holwerda [20] showed that the reaction of the 7α-bromocholesterol with 2,4,6-trimethylpyridine (collidine) followed first-order kinetics with respect to the 7-bromo substrate and zero-order kinetics with respect to the collidine.”
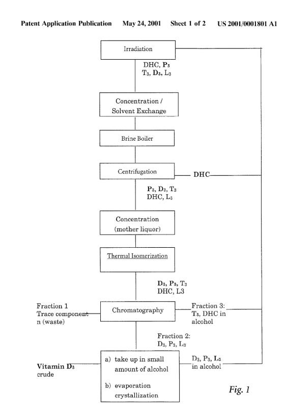
Cholecalciferol Manufacturing Steps
Cholecalciferol, also known as vitamin D3, is synthesized through a series of steps, both naturally and industrially. Here are the key steps involved in the industrial production of cholecalciferol:
Irradiation of 7-Dehydrocholesterol: The process begins with irradiating 7-dehydrocholesterol with ultraviolet (UV) light, typically UVB radiation. This irradiation converts 7-dehydrocholesterol into a precursor form of cholecalciferol called previtamin D3 or precholecalciferol.
Thermoisomerization: The precholecalciferol is then heated to convert it into cholecalciferol. This step is crucial for transforming the previtamin D3 into the final form of vitamin D3.
Separation and Purification: The next step involves separating the cholecalciferol from the reaction mixture. This is done by first removing the solvent used in the irradiation process under reduced pressure. The residue is then combined with methanol, and the precipitated 7-dehydrocholesterol is filtered out.
Heating the Filtrate: The alcoholic filtrate is heated to convert any remaining precholecalciferol into cholecalciferol. After this, the amounts of cholecalciferol and 7-dehydrocholesterol in the filtrate are determined. If necessary, the quantity of 7-dehydrocholesterol is replenished to achieve a 1:1 ratio with cholecalciferol.
Complex Formation and Adsorption: The complex compound formed is subjected to decomposition on active adsorbents, such as aluminum oxide. This process helps in the purification and separation of the individual components.
Column Chromatography: A benzene solution of the complex compound is passed through a column packed with aluminum oxide. Different fractions of the eluate are collected, which contain pure cholecalciferol, a mixture of cholecalciferol and 7-dehydrocholesterol, and pure 7-dehydrocholesterol.
Crystallization: The pure cholecalciferol obtained from the eluate is evaporated under reduced pressure, dried, and then crystallized from acetone with the addition of water. This results in the formation of crystalline cholecalciferol, which is then dried and packaged for use.
These steps ensure the production of high-purity cholecalciferol, which can be used in dietary supplements and other applications requiring vitamin D3.
https://lpi.oregonstate.edu/mic/vitamins/vitamin-D
https://patents.google.com/patent/WO2016100892A1/en
DETAILED DESCRIPTION OF THE INVENTION
[0012] As described herein, vitamin D may be prepared on a production scale by irradiating the provitamin 7-dehydrocholesterol or ergosterol in the presence of a base, and isomerizing the previtamin D formed in the irradiation. In the irradiation methods of the present invention, there are formed in addition to the previtamin other side products, especially lumisterol and tachysterol.
[0013] As noted above, the irradiation step occurs in the presence of an inorganic or organic base. In the case of an inorganic base, such a base can be selected from the group consisting of magnesium carbonate hydroxide, potassium hydrogen carbonate, sodium hydrogen carbonate, potassium carbonate, sodium carbonate, magnesium carbonate, calcium carbonate, barium carbonate, magnesium bicarbonate, ammonium hydroxide, lithium hydroxide, potassium hydroxide, sodium hydroxide, magnesium hydroxide, calcium hydroxide, magnesium-alumina hydroxide, magnesium oxide, calcium oxide, barium oxide, calcium silicate, magnesium silicate, magnesium aluminum silicate, magnesium aluminate, magnesium metasilicate-aluminate, sodium hydrogen phosphate, sodium dihydrogen phosphate, and synthetic hydrotalcite, , or combinations thereof. This list is not meant to be limiting.
[0014] In the case of an organic base, such a base can be selected from the group consisting of an aliphatic amine or an aromatic amine; and in certain embodiments may be selected from the group consisting of methylamine, ethylamine, and isopropylamine, phenylamine (a.k.a. aniline), imidazole, benzimidazole, histidine, monoethanolamine, diethanolamine, triethanolamine, triethylamine, tripropylamine, tributylamine, dicyclohexylmethylamine, dicyclohexylamine, Ν,Ν'-dibenzylethylenediamine, and N- methylpyrrolidine or combinations thereof. This list is not meant to be limiting.
[0015] In order to effectively irradiate the starting material in a solution comprising an organic or inorganic base with light in the desired wavelength range as described herein\, the solution preferably comprises a solvent that is substantially transparent to light in the desired wavelength range. The term "substantially transparent" refers to a solvent which permits sufficient light to reach the starting material in order to convert at least 10% of the starting material, more preferably at least 25%, still more preferably at least 35%, and most preferably 45% to the desired product within 120 minutes.
Conversion may be monitored using standard analytical methods such as HPLC on a reverse phase C18 column and UV absorbance detection. See, e.g., Kaushik et al., Food Chemistry 151: 225-30, 2014.
[0016] In certain embodiments, the solution comprises a solvent selected from the group consisting of an alcohol, an alkene, a polar solvent, a cycloalkane, an ether, a carboylic acid ester, and an aromatic solvent, or mixtures thereof. In preferred
embodiments, the solution comprises a solvent selected from the group consisting of acetonitrile, toluene, pyridine, trichloroethylene, acetone, 1,2-ethanediol, ethanol, methanol, isopropanol, diethyl ether, methyl tert-butyl ether, ethyl acetate,
dimethylsulfoxide, dimethylformamide, diethylamine, chloroform, anisole, benzene, 1- butanol, chloroform, cyclohexane, acetic acid butyl ester, hexane, 2-propanol, 1-hexene, naphthalene, tetrahydrofuran, m- xylene, p-xylene, o-xylene, n-methyl-2-pyrrolidone, 1,3- butadiene, and hexadecane, or mixtures thereof. This list is not meant to be limiting. The selection of base may be made on the basis of miscibility in the desired solvent. [0017] The relative proportion of base: solvent can range from 1:99 to 100:0. In preferred embodiments, the relative proportion is from 5:95 to 100:0, and more preferably from 10:90 to 100:0 on a v:v basis of saturated or neat solutions of the base and solvent. By way of example, triethylamine is available as a >99% neat solution;
dibenzylethylenediamine as a 97% solution; ammonium hydroxide as a 30% solution.
[0018] The term "alkane" whenever used in this specification and claims refers to a saturated hydrocarbon compound. Other identifiers can be utilized to indicate the presence of particular groups in the alkane (e.g., halogenated alkane indicates that the presence of one or more halogen atoms replacing an equivalent number of hydrogen atoms in the alkane). The term "alkyl group" is used herein in accordance with the definition specified by IUPAC: a univalent group formed by removing a hydrogen atom from an alkane. Similarly, an "alkylene group" refers to a group formed by removing two hydrogen atoms from an alkane (either two hydrogen atoms from one carbon atom or one hydrogen atom from two different carbon atoms). An "alkane group" is a general term that refers to a group formed by removing one or more hydrogen atoms (as necessary for the particular group) from an alkane. An "alkyl group," "alkylene group," and "alkane group" can be acyclic or cyclic and/or linear or branched unless otherwise specified. Primary, secondary, and tertiary alkyl groups are derived by removal of a hydrogen atom from a primary, secondary, and tertiary carbon atom, respectively, of an alkane. The n- alkyl group can be derived by removal of a hydrogen atom from a terminal carbon atom of a linear alkane. The groups RCI¾ (R≠ H), R2CH (R≠ H), and R3C (R≠ H) are primary, secondary, and tertiary alkyl groups, respectively.
[0019] A cycloalkane is a saturated cyclic hydrocarbon, with or without side chains, for example, cyclobutane. Other identifiers can be utilized to indicate the presence of particular groups in the cycloalkane (e.g., halogenated cycloalkane indicates that the presence of one or more halogen atoms replacing an equivalent number of hydrogen atoms in the cycloalkane). Unsaturated cyclic hydrocarbons having one endocyclic double or one triple bond are called cycloalkenes and cycloalkynes, respectively. Those having more than one such multiple bond are cycloalkadienes, cycloalkatrienes, and so forth. Other identifiers can be utilized to indicate the presence of particular groups in the cycloalkenes, cycloalkadienes, cycloalkatrienes, and so forth. [0020] A "cycloalkyl group" is a univalent group derived by removing a hydrogen atom from a ring carbon atom of a cycloalkane.
[0021] Similarly, a "cycloalkylene group" refers to a group derived by removing two hydrogen atoms from a cycloalkane, at least one of which is a ring carbon. Thus, a "cycloalkylene group" includes a group derived from a cycloalkane in which two hydrogen atoms are formally removed from the same ring carbon, a group derived from a cycloalkane in which two hydrogen atoms are formally removed from two different ring carbons, and a group derived from a cycloalkane in which a first hydrogen atom is formally removed from a ring carbon and a second hydrogen atom is formally removed from a carbon atom that is not a ring carbon. A "cycloalkane group" refers to a generalized group formed by removing one or more hydrogen atoms (as necessary for the particular group and at least one of which is a ring carbon) from a cycloalkane.
[0022] The term "alkene" whenever used in this specification and claims refers a linear or branched hydrocarbon olefin that has one carbon-carbon double bond and the general formula CnH2n- Alkadienes refer to a linear or branched hydrocarbon olefin having two carbon-carbon double bonds and the general formula CnH2n-2, and alkatrienes refer to linear or branched hydrocarbon olefins having three carbon-carbon and the general formula CnH2n-4- Alkenes, alkadienes, and alkatrienes can be further identified by the position of the carbon-carbon double bond(s). Other identifiers can be utilized to indicate the presence or absence of particular groups within an alkene, alkadiene, or alkatriene. For example, a haloalkene refers to an alkene having one or more hydrogen atoms replace with a halogen atom.
[0023] An "alkenyl group" is a univalent group derived from an alkene by removal of a hydrogen atom from any carbon atom of the alkene. Thus, "alkenyl group" includes groups in which the hydrogen atom is formally removed from an sp hybridized (olefinic) carbon atom and groups in which the hydrogen atom is formally removed from any other carbon atom. For example and unless otherwise specified, 1-propenyl (- CH=CHCH3), 2- propenyl (-CH2CH=CH2), and 3-butenyl (-CE CE CF^CE ) groups are encompassed with the term "alkenyl group." Similarly, an "alkenylene group" refers to a group formed by formally removing two hydrogen atoms from an alkene, either two hydrogen atoms from one carbon atom or one hydrogen atom from two different carbon atoms. An "alkene group" refers to a generalized group formed by removing one or more hydrogen atoms (as necessary for the particular group) from an alkene. When the hydrogen atom is removed from a carbon atom participating in a carbon-carbon double bond, the regiochemistry of the carbon from which the hydrogen atom is removed, and
regiochemistry of the carbon-carbon double bond can both be specified. Other identifiers can be utilized to indicate the presence or absence of particular groups within an alkene group. Alkene groups can also be further identified by the position of the carbon-carbon double bond.
[0024] An arene is an aromatic hydrocarbon, with or without side chains (e.g., benzene, toluene, or xylene, among others). An "aryl group" is a group derived from the formal removal of a hydrogen atom from an aromatic ring carbon of an arene. It should be noted that the arene can contain a single aromatic hydrocarbon ring (e.g., benzene or toluene), contain fused aromatic rings (e.g., naphthalene or anthracene), and contain one or more isolated aromatic rings covalently linked via a bond (e.g., biphenyl) or non- aromatic hydrocarbon group(s) (e.g., diphenylmethane). One example of an "aryl group" is ortho-tolyl (o-tolyl), of which is shown here.
[0025] An "ether" is any of a class of organic compounds in which two hydrocarbon groups are linked by an oxygen atom.
[0026] As used herein, the term "polar solvent" means those solvents that have a hydrogen bonding solubility parameter greater than 9. See "Hansen Solubility
Parameters", Charles M. Hansen, ISBN0-8493-7248-8 for definition of Hydrogen Bonding Solubility Parameter.
[0027] As used herein, the term "non-polar solvent" refers to a compound which is immiscible with an ionic liquid. In one embodiment, the term "non-polar solvent" refers to a solvent which has a dielectric constant of no more than 5, preferably no more than 3.0, more preferably no more than 2.5, measured at 20° C. and atmospheric pressure according to ASTM D924-92. In a preferred embodiment, the term "non-polar solvent" refers to cyclic and acyclic aliphatic hydrocarbons, and particularly cyclic and acyclic saturated aliphatic hydrocarbons, i.e. alkanes and cycloalkanes, such as pentanes, hexanes, heptanes, octanes and cyclohexane etc. Said non-polar aliphatic hydrocarbons may be substituted by one or more halogen atoms, the same or different, but are preferably unsubstituted. [0028] As used herein, the term "carboxylic acid ester" refers to the mono- or diesters of carboxylic acids, respectively, having the following formula:
[0029] RiC(0)OR2 or R20(0)CRiC(0)OR2
[0030] wherein Ri is a CI to C6 hydrocarbyl group independently selected from the group consisting of alkyl, cycloalkyl, and aryl; said hydrocarbyl group optionally substituted with at least one hydro xyl group and R2 is a CI to C4 (1 to 4 carbon atoms) straight chain or branched chain alkyl groups. In a preferred embodiment, R2 is an ethanol or methanol. As used herein, the term "carboxylic acid" will be used to refer carboxylic acids having the following formula:
[0031] RiC(0)OH or HO(0)CRiC(0)OH
[0032] wherein Ri is a CI to C6 hydrocarbyl group independently selected from the group consisting of alkyl, cycloalkyl, and aryl; said hydrocarbyl group optionally substituted with at least one hydroxyl group.
[0033] In preferred embodiments, the solvent selected also serves as the base for the reaction. By way of example, triethylamine serving as both solvent and base that also offers the additional advantage of being easily removed by distillation and by azeotropic distillation.
[0034] Suitable irradiation conditions comprise placing the solution having a concentration of between about 0.5 and 10 g/L of the 7-dehydrocholesterol or ergosterol into a UV- transparent reactor such as one made of quartz, polyethylene, polypropylene, etc. and exposing the solution to UV light. Alternatively, a reactor equipped with submersible quartz well, holding the UV lamp, can be used. The UV exposure time is optimized for every device configuration used. In the present methods, the loss of any of the isomers is inhibited and the reaction can achieve an equilibrium that is insensitive to irradiation time. By continuously adding the 7-dehydrocholesterol or ergosterol starting material to the reaction to replenish it at the rate of its conversion in the photochemical reaction, a concentration of between about 10 g/L to about 80 g/L or more of the reaction products may be achieved. Preferably, a reaction product of from 20 g/L to 40 g/L or more is obtained for use in the thermoisomerization step which may follow. The thermoisomerization step can be carried out in the same solution as the irradiation step, or in a different solution. Most preferably the thermoisomerization step is carried out in the same solution as the irradiation step.
[0035] Typical light sources comprise low pressure mercury lamps, medium pressure mercury lamps, light-emitting diodes (LEDs), nitrogen lasers which function at 337 nm, or a YAG lasers which function at 353 nm, XeF lasers which function at 350 nm, Raman shifted XeCl lasers, and broadband dye lasers pumped by XeCl or KrF excimer lasers, the last two being tunable to operate as required in the 330-360 nm range. The temperature of the solution during irradiation may be held in the range 0°-10°C, or in a range as desired;
[0036] The peak wavelength value for UV conversion of vitamin D occurs at about 295 nm, with a broad action spectrum providing useful light from about 245-360 nm. Preferred wavelengths are between about 250 nm and about 320 nm, and more preferably between about 270 nm and about 300 nm. See, e.g., Olds et al., NIWA UV Workshop, Poster 53, Queenstown April 7-9, 2010. If desired, the irradiation may be performed in steps, e.g., a first irradiation in the wavelength range 245-260 nm, followed by a second irradiation in the wavelength range 300-350 nm.
[0037] While heating is not absolutely required, the rate of conversion of precursor which converts to vitamin D increases with temperature. Yates et al., in Vitamin D:
Molecular, Cellular and Clinical Endocrinology. Proceedings of the Seventh Workshop on Vitamin D, Rancho Mirage, California, USA, April 1988, pp. 83-92. Thus, it is preferred that following the irradiation step, the product is heated to between about 50 °C and about 150 °C for at least 2 hours (hrs), leading to a process called
"thermoisomerization" to effect conversion from pre-vitamin-D2 or pre-vitamin-D3 to vitamin D2 or vitamin D3. In certain embodiments, the product is heated to between about 40 °C and about 120 °C, and still more preferably to between about 75°C and about 90°C for between 3 hours and 16 hours.
[0038] Typically, a yield of at least 10%, more preferably at least 25%, still more preferably at least 35%, and most preferably 45% or more of vitamin D2 or vitamin D3 is produced from the starting material. In certain embodiments, a significant concentration of lumisterol and tachysterol is produced. By "significant concentration" is meant at least 10% of the product yielded from the method comprises one or both of lumisterol and tachysterol, provided that the total yield of lumisterol and tachysterol is less than the yield of vitamin D2 or vitamin D3.
[0039] One skilled in the art readily appreciates that the present invention is well adapted to carry out the objects and obtain the ends and advantages mentioned, as well as those inherent therein. The examples provided herein are representative of preferred embodiments, are exemplary, and are not intended as limitations on the scope of the invention.
[0040] Example 1.
[0041] A solution of 7-dehydrocholesterol (4.86 mg/mL) was prepared in ethanol. One milliliter of the 7-dehydrocholesterol solution was transferred to a quartz test tube. An organic base (triethylamine, 0.2 mL) was added. The test tube was sealed.
[0042] As a control, one milliliter of the 7-dehydrocholesterol solution was transferred to a quartz test tube. Ethanol (0.2 mL) was added in place of the organic base. The test tube was sealed.
[0043] Both test tubes were affixed side-by-side to a quartz immersion well and lowered into a water bath, the temperature of which was kept at 5 - 10° C. A Hanovia UV lamp model No. 608A036 was placed in the well 15 min. after it has been turned on. Both solutions were illuminated for 3 hrs.
[0044] Both the triethylamine-containing solution, as well as the control, were subsequently heated to 85° C for 2.5 hrs. Both solutions were analyzed by HPLC as depicted in Figs. 1A and B (base) and 2 A and B (control). Legend to Fig. 1 A and B: 7- dehydrocholesterol (1), pre-vitamin D3 (6), lumisterol (7), vitamin D3 (4) and tachysterol (8). The yields obtained were as follows:
Sample ID Vitamin D (mg/mL) 7-dehydrocholesterol (mg/mL)
Ethanol/triethylamine 1.08 0.305
Control 0.178 <0.06
https://www.sciencedirect.com/science/article/abs/pii/S0032591022008567
https://link.springer.com/article/10.1007/s11367-019-01634-6
https://www.echemi.com/community/alkaline-hydrolysis-and-extraction-of-vitamin-d-from-food-samples_mjart2204071438_821.html
https://www.researchgate.net/publication/347616812_Development_and_Characterization_of_an_Orodispersible_Film_for_Vitamin_D3_Supplementation
https://www.researchgate.net/figure/Flow-chart-of-manufacturing-steps-of-vitamin-D3-ODF_fig2_347616812
https://nutrasciencelabs.com/blog/whats-the-process-for-manufacturing-dietary-supplements?hs_amp=true
Prisoners were fed a diet of processed rice. They became sick. It was determined that not processing the rice solved the problem. It was then determined that the hulls of the rice contained something special; an important nutrient needed to maintain health.
Sailors who were at sea for lengthy periods of time were eating horrible diets and falling ill. It was determined that by providing the sailor with citrus fruits would prevent this.
Professor Steven Moulton Babcock at the University of Wisconsin had long been in opposition of the German chemists' view that an adequate diet could be described by correct proportions of protein, carbohydrate, fat and salts.10 At long last, the Department of Dairy Science at the University of Wisconsin allowed Professor Babcock and his newly hired head of Agricultural Chemistry, that is, EB Hart, to carry out an experiment in the dairy herd at Wisconsin.11 They fed four groups of dairy cattle with the exact dietary proportions suggested by the German chemists, except that the entire ration was derived from a single grain, namely corn, oats, wheat or a mixture thereof. The outcome was quite dramatic. Cows fed the corn diet did very well, reproduced and were able to produce large amounts of milk, whereas those on the wheat diet did poorly and, in fact, failed to survive. The oat diet resulted in a finding intermediate between wheat and corn. The Wisconsin group correctly concluded that there were accessory food factors yet to be discovered that were responsible for the health and well-being of those animals fed the corn diet.
The White Rat Experiment
With the white rat, McCollum and Davis12 conclusively demonstrated that butter fat and cod liver oil contained a factor, which is required for the prevention of xerophthalmia, an eye disease, and to support growth. This finding attracted Osborne and Mendel13 at Yale to carry out similar experiments, and, independently, McCollum et al.14 at Wisconsin and Osbourne and Mendel13 at Yale discovered a water-soluble factor that was responsible for preventing a neurological disease similar to beri-beri. McCollum, in consultation with Professor Harry Steenbock, who was also involved in the early, single-grain experiment, decided that they would use the idea of Funk to call these substances ‘vitamins'. Vitamin A was the fat-soluble factor and vitamin B was the water-soluble factor. Soon thereafter, evidence was provided that another water-soluble factor prevented the disease scurvy and was called vitamin C.15 The stage was set then for the discovery of the next vitamin, vitamin D
Sir Edward Mellanby in Great Britain had been very concerned with the extremely high incidence of rickets in the United Kingdom, especially in Scotland. In fact, the disease became known as ‘the English Disease'.16 Sir Mellanby was taken by the work of McCollum and decided that rickets might be a dietary deficiency disease. He very cleverly used the diet consumed by the Scottish people (who had the highest incidence of rickets), primarily oatmeal, and fed that to dogs that he inadvertently KEPT INDOORS AND AWAY FROM SUNLIGHT. They developed rickets, which was identical to the human disease.17 Sir Mellanby17 could cure the disease by providing cod liver oil and he therefore assumed that it was possible that vitamin A was responsible for the prevention of rickets. McCollum who had since left Wisconsin and moved to Johns Hopkins University had been following this finding, and decided to test the hypothesis of whether vitamin A was responsible for healing rickets. He bubbled oxygen through cod liver oil that destroyed vitamin A and found that this preparation was no longer able to prevent xerophthalmia and vitamin A deficiency, but it still retained the ability to cure rickets.18 McCollum et al.18 correctly concluded that the factor that cures rickets is a new vitamin, which they called vitamin D.
In the meantime, Huldshinsky,19 a physician in Vienna, and Chick et al.20 in England found that children suffering from rickets could be cured by exposing them to summer sunlight or artificially produced UV light.
Hess and Weinstock27 independently and somewhat later discovered that irradiation could prevent rickets.
Although the idea of vitamin D became very clear and it was found in a non-saponifiable fraction, the actual identification of the vitamin structure was not to take place until 1932 when Askew et al.28 were able to isolate vitamin D2 from an irradiation mixture of ergosterol. Vitamin D1 had proved to be an artefact of an adduct between vitamin D2 and lumisterol by Windaus and Linsert.29 Thus, vitamin D2 proved to be the first vitamin D to be isolated and identified.
Askew et al The Distillation of Vitamin D. (1932)
https://www.semanticscholar.org/paper/The-Distillation-of-Vitamin-D.-Askew-Bourdillon/db9d01867687915b64e9d72283bf0f4c64cde974
“A solution of ergosterol in ether was exposed to the unfiltered radiation from a mercury vapour lamp while flowing through a narrow silica tube at a rate such tat about 40 per cent. of the ergosterol was destroyed. Thy unchanged ergosterol was then removed by precipitation with digitonin as described in a previous paper (Webster and Bourdillon, 1928) and the ethereal solution of the products of radiation was evaporated in vacuo to a dry resin.”
7-Dehydrocholesterol. (1935)
https://scholar.google.com/scholar_lookup?journal=Ann+Chem&title=7-dehydrocholesterol&author=A+Windaus&author=H+Lettre&author=F+Schenck&volume=520&publication_year=1935&pages=98-107&
“Cholesteryl acetate was oxidized to 7-ketocholesteryl acetate, which was reduced by aluminium isopropoxide to give 7-hydroxycholesterol. The dibenzoate of the last compound was decomposed on distillation to give the benzoate of" 7-dehydrocholesterol"(Δ 5, 6: 7, 8-cholestadien-3-ol); this had the same absorption spectrum as ergosterol and was rendered antirachitic by irradiation, yielding a product with half the activity of irradiated ergosterol.-RK Callow.”
One of the early experiments that is often unappreciated are the studies of Shipley et al.38,39 in which slices of bone taken from rachitic animals were incubated in the blood serum of vitamin D-deficient animals or in the blood serum of animals provided with vitamin D. The provisional deposit of calcium and phosphate was found in the case of bone slices incubated in serum of animals that had been given vitamin D. However, the addition of vitamin D to the serum of vitamin D-deficient rats did not in any way influence the deposit of mineral in the bone. Of considerable importance was that calcification of rachitic bone could be achieved by incubation in solutions that contained the same levels of calcium and phosphate as is found in the serum of animals given vitamin D. These results did not really indicate the mechanism of action of vitamin D, but it did suggest that the failure of mineralization might well be a failure of supply of calcium and phosphorus to the bone compartment in the case of vitamin D deficiency. This idea was to be left uninvestigated for some time.
Turning back to the work of McCollum et al.44 and Steenbock and Black,25 the production of rickets in rats required not a low-calcium diet but rather a high-calcium and low-phosphorus diet. The rachitic epiphyseal plate could only be found when a high-calcium, low-phosphorus vitamin D-deficient diet was fed in the case of rats.
1935 method still used https://www.nature.com/articles/158169a0
https://www.britannica.com/science/7-dehydrocholesterol
If 80 IU = .002mg, a 5000 IU serving would be .125 (5000 IU divided by 80 IU = .125)
Merck https://www.merckvetmanual.com/toxicology/rodenticide-poisoning/cholecalciferol-vitamin-d3-poisoning-in-animals
Cholecalciferol mechanistically disrupts calcium and phosphorus homeostasis within the body. Transported systemically from the gut via specific binding proteins, cholecalciferol travels first to the liver for conversion to 25-hydroxycholecalciferol (calcifediol) and then to the renal tubules for conversion to 1,25-dihydroxycholecalciferol (calcitriol). Although calcitriol is the most bioactive form, ingestion of large quantities of cholecalciferol, as are found in rodenticide products, overwhelmingly increases calcifediol concentrations that impart harmful effects on calcium homeostasis as well. Peak concentrations of calcitriol are reached after 48–96 hours, accounting for some amount of delay in both clinical signs and laboratory changes.
After ingestion and conversion in the liver and kidneys, vitamin D3 ultimately disrupts calcium homeostasis by increasing calcium and phosphorus absorption from the gut, increasing calcium absorption from the distal renal tubules, and inducing mobilization of calcium from the bone with osteoclastic effects—an influence that is not entirely understood at this time.
Toxic doses of cholecalciferol are much lower than reported acute lethal doses (13 mg/kg) and median lethal doses (88 mg/kg), and important clinical changes with notable morbidity, even mortality, may be noted with relatively low doses. Therefore the acute lethal dose and median lethal dose are recognized, but they are rarely used in guiding aggressive care and monitoring in companion animal patients. Clinical signs may be noted in doses as low as 0.1 mg/kg, with appreciable elevations in calcium and phosphorus concentrations leading to metastatic soft tissue mineralization in doses exceeding 0.5 mg/kg. Soft bait or bait block products often weigh between 14 and 28 g, thus containing 10.5–21 mg of cholecalciferol per bait.
Clinical signs and laboratory changes often manifest within 12–48 hours after ingestion of cholecalciferol; they may include weakness, anorexia, vomiting, polyuria and polydipsia, dehydration, metastatic mineralization of the soft tissues, and consequent systemic effects depending on the organ tissues affected. Persistent elevations in calcium and phosphorus leading to metastatic mineralization commonly affect the kidneys and may lead to renal injury, dysfunction, or failure. Any soft tissue, including that of the heart, lungs, and GI tract, may be affected, however, and clinical signs may vary to some extent depending on the affected organ system. Patients that remain clinically normal and maintain stable and normal calcium and phosphorus values 72–96 hours after ingestion would not be expected to develop clinical signs or changes associated with toxicosis.
Differential diagnoses may include exposure to vitamin D3 supplements, vitamin D3 analogues (calcitriol and calcipotriene), renal disease, and neoplasia.
https://vet.purdue.edu/addl/news/rodenticide-revolution.php
Cholecalciferol Summary from Pet Poison Helpline:
“Cholecalciferol, or activated vitamin D3, causes a life-threateningly high calcium and phosphorus level in the body, resulting in severe, acute kidney failure. This can progress to chronic kidney failure and have long-term repercussions. Common signs of poisoning may not be evident for 1-2 days, when the poison has already resulted in significant -and potentially permanent – damage to the body. Increased thirst and urination, weakness, lethargy, a decreased appetite, and halitosis (“uremic” breath) may be seen. Acute kidney failure develops 2-3 days after ingestion of this type of mouse and rat poison.
Unfortunately, cholecalciferol mouse and rat poison does not have an antidote, and is one of the most challenging poisoning cases to treat as hospitalization, frequent laboratory monitoring and expensive therapy is often required for a positive outcome. Treatment includes aggressive IV fluids (for 2-3 days) and specific drugs (e.g., diuretics, steroids, calcitonin and bisphosphonates) to decrease calcium levels in the body. Frequent monitoring of blood work (calcium, phosphorus, and kidney values) is often needed for a period of 2-6 weeks after ingestion.
Unfortunately, cholecalciferol has a very narrow margin of safety, which means that even small ingestions of this poison can result in severe clinical signs or death. Toxic ingestions must be treated quickly and appropriately to prevent kidney failure.”
https://patents.google.com/patent/EP0127086A2/en
“recrystallization” (=add a bunch of chemicals). Here’s a detailed guide if you want to read something super boring.







































I am beginning to believe NONE! The only ones are the naturally derived vitamins from healthy foods, which in itself, is becoming more difficult every day! Its truly overwhelming.
The wizards and warlocks of the cult of "science" have been busy killing us with ignorance since 1928 when toxic waste from factories was made into "vitamins" so that the Jews didn't have to pay for waste disposal. The cult of "vitamins" was born, and the bonuses were BIG! Trillions of dollars have been made by feeding toxic waste to billions of willing victims. From paying to profiting just like that.
An added bonus was tacking on names to the side effects of these poisons and then sending the victims to Big Pharma for a cure. And what do many doctors recommend that victims of vitamin D3 poisoning take? MORE VITAMIN D3! It's good for your bones after all, right? The bones of these victims disintegrate into nothing while the doctor calls this disease "bone cancer." Cancer is caused by microparasites inside of cells and a low body frequency, not from "vitamin D3", but why worry about the wrong label for the diseases that "vitamins' cause? Take your prescriptions like good little sheep.
So, while people are falling out from poison "vitamins," the Jews get richer and can sacrifice all of these clueless sheep to Satan or some demon-god who requires pain and immense torture to satisfy them. The 9th circle of hell is for the select few after all, and you have to do some horrific things to hang out there with Satan. Welcome to the Satanic upside-down where bad is good and good is bad.